国际声学产业技术研究院
INTERNATIONAL INSTITUTE OF ACOUSTIC TECHNOLOGY

从被动到主动,工业界精密仪器微振动如何有效隔离?

发表时间:2021-08-31 22:41作者:IAT

隔振技术作为振动控制的重要应用之一,其主要目的是抑制振动的传递,按照隔振方式是否有外部能量的输入分为被动隔振和主动隔振。


01

被动隔振不适用于精密仪器


     被动隔振技术不需要从外界摄入任何的能量,只需要依靠被动隔振元件例如弹簧、空气弹簧、橡胶等就能实现对振动的隔离,如图1所示。

     被动隔振成本低、结构简单,操控方便、耐用性强,是应用最广泛的隔振方式。但是,被动隔振也有着不可忽视的缺点。被动隔振系统在系统固有频率处存在着谐振峰,在谐振峰和低于谐振频率的低频段,基础传递的振动不但不会被衰减,反而会被放大,从而恶化设备的振动环境。被动隔振系统存在着低频部分的隔振性能和高频部分的隔振性能二者不可兼得的困局,难以适用于一些精密仪器设备的低频隔振,例如透射电子显微镜(TEM)、扫描电子显微镜(SEM)、成像设备、车载光电瞄准平台、光刻机、航天器等精密设备。


(a)弹簧隔振器
(b)空气弹簧隔振器

(c)橡胶隔振器

图1 被动隔振的工业应用




02

主动隔振的工业应用


     主动隔振是近些年随着控制技术、致动器和传感器的发展兴起的新的振动隔离方式。随着控制理论、集成电路、传感器、执行机构等领域的技术进步,主动隔振进入蓬勃发展阶段,并在航空、航天、土木工程、机械工程、船舶、汽车等多个领域取得了较好的应用效果。相对于被动隔振,主动隔振在低频振动的隔离方面具有明显的优势,因此主动隔振技术多用于航空航天、超精密加工、精密检测、光学实验等对基座稳定性要求较高的场合,如下图2所示。


(a)主动隔振基座
(b)光学平台主动隔振实验桌

(c)高效抗微振精密设备减振降噪系统

图2 主动隔振的工业应用




03

主动隔振技术原理


     主动隔振系统通常包括有受控系统、控制器、驱动器、传感器等几个常见的部分组成。其中,图3表示的就是主动隔振系统常见的控制框图。外界振动干扰作用在受控系统中,受控系统产生响应的系统输出,而传感器检测到输出量,将输出量传输到控制器,控制器根据此输出响应和相应的控制策略,运算得到所需的控制信号,并且将控制信号传输到驱动器,驱动器根据控制信号产生相应的电流或者电压信号用以驱动主动执行器,从而调整系统的包括刚度、阻尼在内的关键参数,并且依次不断循环,动态地调整系统的参数,实现主动隔振。


图3 主动隔振控制系统原理示意图

     主动隔振系统需要不停地从外界摄入能量,通过采用合适的控制算法,系统的隔振带宽可以得到一定的拓宽,因此可以在包括低频段和高频段在内的很宽的频带内都获得优良的隔振性能。图4所示的就是主动隔振系统形式。主动隔振系统通过振动传感器采集振动状态信息,然后反馈给控制器,控制器根据反馈运算得到控制信号,对主动执行器进行控制,从而实现对振动的隔离。振动信号根据不同的传感器类型以及应用场景,可以测量振动的位移、速度、加速度等信号。其中一种反馈方式,就是反馈负载平台的振动信号,如图4(a)所示。另一种则是同时测量负载平台和基础的振动信号,前者用于反馈控制,后者则用于前馈控制,即如图4(b)所示。


(a)单一反馈主动隔振系统模型图
(b)前馈+反馈主动隔振系统模型图

图4 主动隔振系统原理模型图

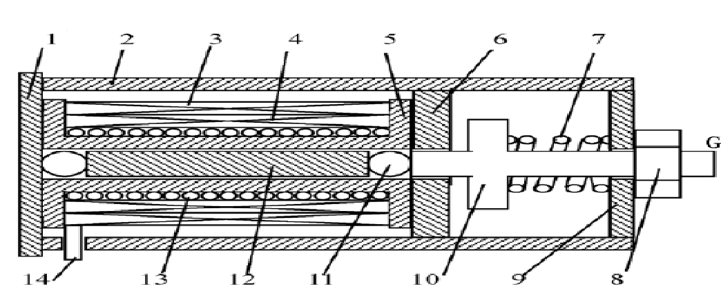
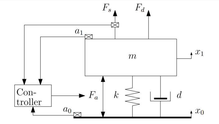
     图5给出了主动隔振系统的简化数学模型。图5中,有效载荷质量m悬挂在地板上刚度为k的弹簧和粘滞系数为d的阻尼器的上方。其中,Fs(t)为有效载荷质量m直接承受的干扰力测量值,Fa(t)是主动隔振的驱动器直接施加的有效载荷。基础支撑部分和有效载荷质量的输出位移分别由x0(t)和x1(t)表示,加速度传感器分别测量基础支撑部分和有效载荷质量的加速度,由a0(t)和a1(t)表示。主动隔振通过驱动器有效载荷Fa(t)来降低有效载荷加速度a1(t),主动隔振系统原理数学模型的状态空间可表示为:

其中


(a)主动隔振系统数学模型
(b)不同控制环路主被动隔振传递率

图5 主动隔振系统原理数学模型示意图




04

主动隔振的致动器问题


     主动隔振是指除了振源或干扰源外,还有其它外部能量输入或交换的一种振动控制方法。实现能量输入和转换的器件被称为致动器。致动器通常是将电能转换为力或位移,与振源或干扰源作用于被控对象产生的力或位移相互抵消。常用的致动器有音圈电机、电磁致动器、液压致动器、气压致动器、磁致伸缩致动器、压电陶瓷等。


4.1音圈电机致动器(Voice Coil Motor Actuator)

     音圈电机(Voice Coil Motor)是一种特殊形式的直接驱动电机。具有结构简单体积小、高速、高加速响应快等特性,如图6所示。音圈电机作为常用的主动隔振执行器,能够对直线方向进行直接出力,其基本工作原理是通电线圈在磁场中受力,力大小与通入的电流正比。音圈电机行程较大、控制简单、出力线性度好。主动隔振平台在每个支撑点上均布置加速度传感器和音圈电机,加速度传感器测量负载平台于每个支撑点轴线方向的振动加速度,用于速度积分反馈并控制音圈电机的驱动力。


图6 国产音圈电机


4.2压电材料致动器(Piezoelectric Material Actuator)

     压电材料是一种特殊的材料,其应变和所受电场几乎成正比例关系,而且这种效应是双极性的,因而可以作为致动器使用。利用逆压电效应,通过施加电场,致动器输出相应位移,从而达到动态控制的效果。压电式致动器控制精度高、响应快速、无发热、能量利用率高,但是输出力一般较小,而且继承自压电材料的滞后现象无法避免,通常是用在高频和所需控制力不太大的情况。具体地,压电陶瓷作为一种信息功能材料,能够实现电能和机械能的相互转换,并应用于Stewart型主动隔振台的单杆支撑点的驱动器。


图7 Stewart型主动隔振台单杆驱动器


4.3电磁致动器(Electromagnetic Actuator)

     电磁驱动器是通过电流在磁场中受力的原理输出主动控制力的一种非接触式致动器,因此按照磁场的形成方法,可以分为励磁式和永磁式两类。由于电磁驱动器属于非接触式致动器,没有摩擦力等非线性因素的影响,其控制模型易于推理。此外,电磁致动器带宽高、响应快速,对于复杂的随机或者周期振动都有很有效的抑制效果,因而也得到了很广泛的应用。在电磁执行器的基础上,磁悬浮隔振技术也得到了很好的发展和广泛地应用,研究表明,磁悬浮隔振技术不但有很好的隔振效果,还有跟踪低频段干扰的效能。


图8 电磁主动隔振系统结构


4.4超磁致伸缩致动器(Giant Magnetostrictive Actuator)

     超磁致伸缩致动器是用超磁致伸缩材料所制成的另一种智能材料致动器。在磁致伸缩材料研究的初期,大多都是以镍铁或者其合金为主的,早期这种材料多应用在声呐、超声波发射等场合。随着新材料超磁致伸缩材料-稀土-铁系金属化合物的开发,磁致伸缩值得到了很大的提高,新材料的磁致伸缩系数是旧材料的上百倍,因而得到了更加广泛的应用。超磁致伸缩致动器响应快速、所需驱动电压低、输出应变大,但存在非线性输出的问题。基于超磁致伸缩材料的执行机构以及微制造主动隔振器如图9所示,该隔振器采取超磁致伸缩执行器与空气弹簧并联的方式,采用加速度传感器进行反馈控制的测量。


1后端板,2执行器外壳,3偏置线圈,4励磁线圈,5轭,6前端板,7预压缩弹簧,8预螺母,9衬套,10推杆,11钢珠,12GMM 杆,13冷却水管,14水管口。

图9 基于超磁致伸缩材料的执行机构原理图

     不同的致动器的出现进一步促进了主动隔振技术的发展。表1给出了几种常用的主动隔振致动器特性比较,可见不同的隔振场合需要选用不同类型的致动器。现如今,就是将新型材料和常用的执行器相结合,扬长避短,发挥各自的优点,弥补各自的缺点,才能获得更加好的性能。


表1 不同致动器特性对比

制动致动器
致动原理
特点
致动器应用
音圈电机
电磁力
行程较大、控制简单、出力线性度好
高速、高精度系统的工况
压电材料
逆压电效应
响应快,不产生热量,输出载荷小
频率较高,要求输出载荷小的工况
电磁
电磁感应
响应快,输出载荷大,放热量大
频带宽、高精度的工况
超磁致伸缩
磁致伸缩效应
输出大,响应快,非线性影响控制
高频、大载荷输出工况



05

结论与前景


     主动隔振的思想就是根据系统的振动状态信息,给负载平台提供一个相反方向的加速度或者驱动力,以抵消负载平台的振动。主动隔振技术的优点是动态响应快、隔振带宽高、性能稳定且优秀。现如今,国内外一些主流的隔振产品生产商都把研发制造的重点置于主动隔振单元或者设备上。



撰稿 刘鑫

编发 埋头苦干鸭




分享到:
首页     ·     关于我们    ·    业务领域   ·    科技创新   ·    新闻政策
江苏省常熟市经济技术开发区研究院路5号
咨询热线
400-991-2671
关注我们获取更多信息
office@iat-center.com